MARİN DUKKANI
Wichard erkek kuş gözü mapa
2.916,30TL
(Stokta var)
Wichard erkek kuş gözü mapa
Wichard erkek kuş gözü mapa
Ürün Kodu: 0862497
Stok Durumu: Stokta var
Stok Durumu: Stokta var
2.916,30TL
Vergiler Hariç: 2.430,25TL
Vergiler Hariç: 2.430,25TL
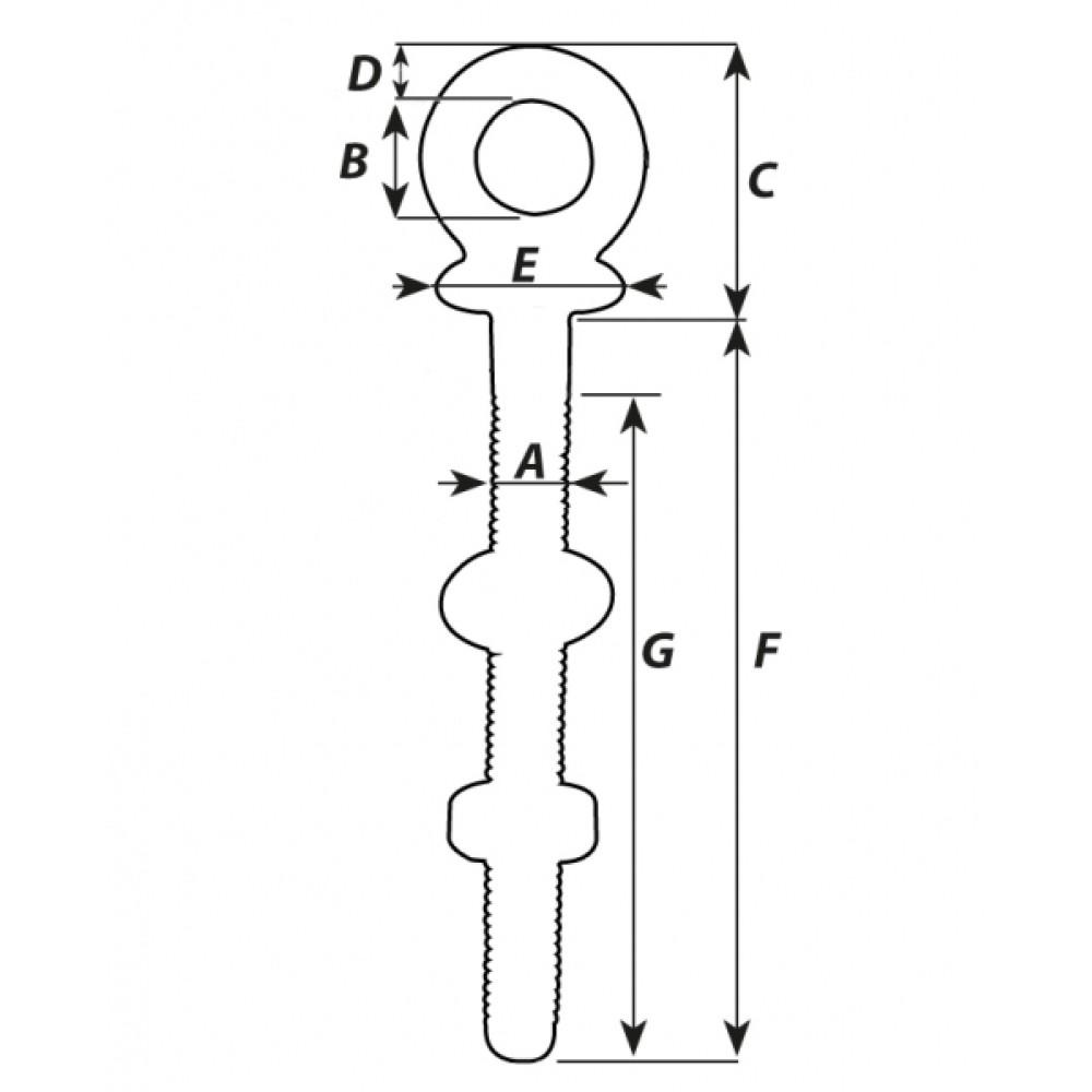
Wichard erkek kuş gözü mapa, tek parça dövülmüş parçaları ile bağlamalarınız için mükemmel güvenlik standartlarını garanti eder.
• Sıcak dövülmüş 316L paslanmaz çelik
• Yüksek dirençli
• Yuvarlak şekli kayışların halatların vs. aşınmasını engeller
• Çok amaçlı kullanım
| Özellik | |
| Özellik | M12x175^18^41^8^28^120^105^2400^3500^163 |


